EP 3 903 940 A1

Cement production apparatus and method for grinding particulate material

(22) 29.07.2020

(43) 03.11.2021

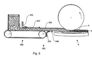
(57) A cement production apparatus, and method, for grinding particulate material comprising: a vertical roller mill comprising a grinding table and a grinding roller having a rotational axis, each having a grinding surface and being arranged to define a grinding zone between the grinding surfaces, and a feeder for feeding the particulate material to the vertical roller mill; wherein the grinding roller is arranged to roll around a grinding path on said grinding table; and the feeder is arranged to receive a supply of the particulate material and to direct a flow of that material to the grinding zone of the vertical roller mill. The feeder may be arranged to substantially constrain the flow of material to a predetermined defined cross-section, to direct the flow of material by applying a momentum to and/or pushing, or to compact the flow of material prior to directing the material, or combinations thereof.

(71) Jespersen, Mads, 2630 Taastrup (DK)

(84) Designated Contracting States: AL AT BE BG CH CY CZ DE DK EE ES Fl FR GB GR HR HU IE IS IT LI LT LU LV MC MK MT NL NO PL PT RO RS SE SI SK SM TR; Designated Extension States: BA ME; Designated Validation States: KH MA MD TN

Related articles:

Issue 8/2021 WO 2021/189218 A1

Vertical mill having grinding roller with ball studs, and grinding roller and grinding disc

(22) 23.03.2020(43) 30.09.2021(57) Disclosed are a vertical mill having a grinding roller with ball studs, and a grinding roller and a grinding disc. The vertical mill comprises a grinding disc (4)...

more
Issue 03/2025 WO 2025/061554 A1

Vertical centrifugal roll mill

(22) 12.09.2024(43) 27.03.2025(57) The present invention relates to a method for operating a vertical centrifugal roll mill, characterized in that activated clays are fed via the pneumatic classifier...

more
Issue 5/2023 TIANJIN CEMENT INDUSTRY DESIGN AND RESEARCH INSTITUTE LTD.

The industrial application of vertical roller mill separate grinding technology used in large scale raw mill

In this paper, the working principle and key equipment of vertical roller mill separate grinding technology is firstly introduced, then the updated technology scheme and application effect of the...

more
Issue 5-6/2020 WO 2020/042679 A1

Multi-roller vertical cement roller mill having alternately standby grinding rollers

(22) 31.08.2018(43) 05.03.2020(57) A multi-roller vertical cement roller mill (20) having alternately standby grinding rollers, being used for milling materials, and comprising: a grinding disk (5)...

more