US 2017/0016669 A1

Device for pre-heating cement raw meal for cement clinker production

(22) 17.02.2015

(43) 19.01.2017

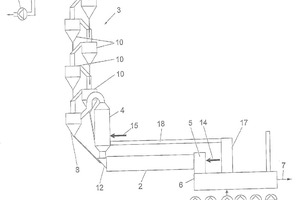
(57) The device for pre-heating cement raw meal for the cement clinker production comprises at least one heat exchanger line for charging cement raw meal in countercurrent flow to the hot gases drawn through the heat exchanger line and a supporting structure (19) for the at least one heat exchanger line, wherein the heat exchanger line comprises a plurality of heat exchangers (8, 9, 10) which are interconnected and through which flow can pass consecutively. The supporting structure (19) comprises stands (20) which jointly form a triangular outline (21) and serve to transfer load into at least one foundation.

(71) Holcim Technology Ltd, Rapperswil-Jona (CH)

Related articles:

Issue 11/2015 WO 2015/128714 A1

Device for pre-heating cement raw meal for cement clinker production

(22) 17.02.2015 (43) 03.09.2015 (57) The device for pre-heating cement raw meal for cement clinker production comprises at least one heat exchanger...

more
Issue 7/2022 WO 2022/157163 A1

Raw meal delivery device

(22) 19.01.2022 (43) 28.07.2022(57) The invention relates to a raw meal delivery device (1) for delivering raw meal (R) into a gas line, such as a riser of a heat exchanger cyclone (112, 113), or into...

more
Issue 04-05/2025 US 2025/0129987 A1

Method for operating a plant for producing cement clinker

(22) 02.02.2023(43) 04.04.2025(57) A method for operating a plant for producing cement clinker, wherein the plant comprises as plant units, in the direction of gas flow, at least one clinker cooler,...

more
Issue 1-2/2018 WO 2017/167639 A1

System for producing cement clinker with a separated entrained-flow calcinator

(22) 23.03.2017(43) 05.10.2017(57) The invention relates to a system (100, 200) for producing cement clinker, having at least one rotary kiln (113) for sintering the cement clinker from pre-calcinated...

more
Issue 02/2024 US 2024/0002288 A1

Method of producing clinker from cement raw meal

(22) 07.12.2021(43) 04.01.2024(57) A method of producing clinker from cement raw meal, includes preheating cement raw meal in a preheater string, the preheater string including a plurality of...

more
×