US2019345031 (A1)

Method for the production of a syngas from a stream of light hydrocarbons and from combustion fumes from a cement clinker production unit

(22) 06.11.2017

(43) 14.11.2019

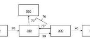
(57) Summary of the corresponding patent FR3059315 (A1): Procédé de production d’un gaz de synthèse contenant du CO et de l’H2 à partir d’un flux d’hydrocarbures légers et de fumées de combustion issues d’une unité de fabrication de clinker de ciment comprenant au moins un four de calcination (300), et un moyen d’évacuation des fumées de combustion (500) issues du four de calcination vers l’extérieur de ladite unité, lequel procédé comprenant les étapes suivantes : – on prélève au moins une partie des fumées de combustions (70) obtenues dans ladite unité de fabrication de clinker en amont dudit moyen d’évacuation des fumées de combustion (500) ; – on prépare un flux réactionnel (113) comprenant un flux d’hydrocarbures légers (110) comprenant du méthane et les fumées de combustion (70) ; – on envoie ledit flux réactionnel (113) dans un réacteur de tri-reformage (1009) pour obtenir un gaz de synthèse (114).

(71) IFP E nergies Nouvelles (FR); Holcim Technology Ltd (CH)

Related articles:

Issue 08/2024 WO 2024/179118 A1

Oxygen-fuel combustion clinker-cooler air supply system

(22) 11.12.2023(43) 06.09.2024(57) An oxygen-fuel combustion clinker-cooler air supply system. The air supply system comprises a clinker cooler (1), a kiln tail system (11), an oxygen generation...

more
Issue 4/2016 WO 2016/024328 A1

Combustion device

(22) 12.08.2014 (43) 18.02.2016 (57) [Problem] To provide a combustion device for a pellet fuel, the device being able to suppress the accumulation...

more
Issue 7-8/2017 EP 2 091 886 B1

Process for manufacturing clinker with controlled CO2 emission

(22) 22.10.2007(43) 26.08.2009(45) 10.05.2017(57) La présente invention concerne un procédé de fabrication de clinker permettant de contrôler les émissions de CO2 dans l’atmosphère. (…)(73) L’Air...

more
Issue 1/2023 WO 2022/236593 A1

System and method for producing cement clinker by oxy-fuel combustion

(22) 10.05.2021(43) 17.11.2022(57) A system and method for producing cement clinker by oxy-fuel combustion circulation preheating, the system comprising a preheater, a decomposing furnace, a smoke...

more
Issue 6/2022 WO 2022/130730 A1

Cement clinker production system and cement clinker production

(22) 29.09.2021(43) 23.06.2022(57) Provided is a cement clinker manufacturing system with which it is possible to increase the carbon dioxide gas concentration of some exhaust gas and to obtain a gas...

Cement clinker production system and cement clinker production">more
×