Swinging agitator for a gypsum calcining apparatus and the like
(22) 10.02.2005
(43) 30.06.2017
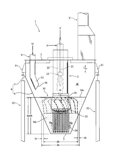
(57) Summary of corresponding patent WO2005092583 (A1): An agitation mechanism for a gypsum processing apparatus which includes a housing (12) having a top wall, a bottom wall, and at least one side wall. The housing can be constructed and arranged to receive and process gypsum-based products. An agitator frame (64) having a similarly shaped cross-section to the cross-section of the housing is provided and positioned adjacent the bottom wall (55) of the housing. The agitator frame (64) is pivotally connected (68, 70, 72) internally to the housing for reciprocating movement between first and second positions. The agitation mechanism is operable (74) for preventing fluid channeling to ensure good fluidization of the gypsum products from collecting adjacent the bottom wall of the housing.
(73) United States Gypsum Company
