Cement production
(22) 20.12.2018
(43) 01.04.2021
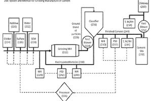
(57) The present invention provides a method and system for manufacturing cement wherein ground particles of cement and calcium sulfate are subjected to infrared sensors, laser sensors, or both, so that emanated, irradiated, transmitted, and/or absorbed energy having wavelengths principally within the range of 700 nanometers to 1 millimeter can be monitored and compared to stored data previously obtained from ground cement and sulfate particles and preferably correlated with stored strength, calorimetric, or other data values, such that adjustments can be made to the mill processing conditions, such as the form or amounts of calcium sulfate (e.g., gypsum, plaster, anhydride), or cement additive levels. The strength and other properties of cement can be thus adjusted, and its quality can be more uniform.
(71) GCP Applied Technologies Inc., Cambridge, MA (US)
