WO 2019/014738 (A1)

Cleaning process for recycling Kraft paper in packaging of the cement-bag type and other, similar packaging

(22) 07.07.2018

(43) 24.01.2019

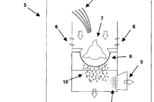
(57) Cleaning process for recycling Kraft paper in packaging of the cement-bag type and other, similar packaging (1), comprising the cleaning process for recycling, and the packaging may be deformed in any way (2); the packaging will undergo a process of fragmentation (3), breaking up the fibres and converting the bags into fragments (4). The fragments will undergo a cleaning process (5), which may or may not include a stream of compressed air (6), with a grinding system for grinding up the fragments (7), then a screen will select only the required sizes (8), with a device for suction of the waste solids (9), grinding the fragments and separating out the waste solids (11) from the paper (10), separating all the layers of paper and completely cleaning same; the already clean fragments (…).

(71) Marcon, Felipe, Rua Doutor Emilio Chierighini, 115, Apt 405, B1 3, Presidente Medici, 13310-050 Itu (BR)

Related articles:

Issue 7/2021 AU 2021103032 A4

Bag or bundle-type packaging with no plastic elements and high protection from moisture and water

(22) 02.06.2021(45) 22.07.2021(57) The present utility model refers to a bag or a bundle-type packaging suitable to contain cement or other similar material, consisting of at least one sheet of paper...

more
Issue 12/2014 REPASACK

Paper sack recycling loop

When the Packaging Ordinance came into force on 01.01.1993, the German economy was bound by law for the first time to return packaging after use and play an active role in its disposal. Since then the ordinance has been continually refined – most recently with the introduction of the seventh amendment – in order to constantly improve the process of returning packaging and prevent abuse of the system.

more
Issue 4/2015 MONDI

Rain-resistant Splash Bag launched

Standard paper bags for packaging cement and other powdery products are generally vulnerable to rain. To tackle the issue, Mondi, working in collaboration with major cement producer Lafarge, has developed an innovative rain-repellent bag particularly suitable for cement. The new wet-strengthened, machine-finished Splash Bag is designed to absorb less moisture than ...

more
Issue 1-2/2017 US 2016/0332781 A1

Paper bag

(22) 26.11.2014 (43) 17.11.2016 (57) A paper sack for bulk material such as cement, gypsum, granulate, animal feed or similar, having a base,...

more