Lower heat processed calcium sulphates for early strength cements and general use
(22) 18.02.2014
(43) 07.01.2016
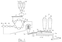
(57) The Invention is related to increasing of early strength and final strengths of cements classified under EN and ASTM as Portland or CEM cements and also related to all clinker employing cements and to any kinds which employ calcium sulphates for set optimization and is for composing of new cements by only assessing new methods for production and is for composing of new cements by only assessing new methods to formation and inclusion of calcium sulphate resources which are used for set optimization. A new calcium sulphate resource is obtained by employing lower heats and this input is arranged to different dehydration levels at which they can be most efficient for the selected use. These different dehydration levels are called intermediate phases of dehydrate or hemihydrates or called as monohydrate.
(71) Mustafa Ozsut, Ankara (TR)
