Method and device for cooling and comminuting hot cement clinker
(22) 16.04.2015
(43) 16.02.2017
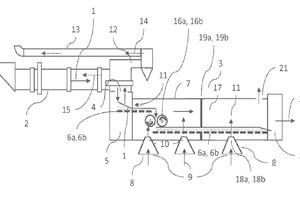
(57) A method and device for cooling and comminuting hot cement clinker in a cooler. The cooler has an inlet region for receiving the hot clinker, a recuperation region, a final cooling region having a clinker cooling device, an opening for blowing cooling air into the recuperation region, a tertiary air line for conducting away heated cooling air, an outlet region for discharging cooled clinker, and at least one conveyor to transport the clinker through the cooler. The hot clinker is tipped into the cooler through an input opening into the inlet region. The clinker is transported by the conveyor from the inlet region, through the recuperation region and the final cooling region to the outlet region, and ambient air is blown as cooling air into the recuperation region through the opening. Comminution of the clinker is provided by a device arranged in the recuperation region.
(71) KHD Humboldt Wedag GmbH, Köln (DE)
