thyssenkrupp industrial solutions

PREPOL Step Combustor (SC) – a simple combustion system for solid alternative fuels

Operational experience shows that waste has to be pre-processed in a mechanical plant before its derived fuel can be used in a cement plant with standard equipment. The fuel must be comminuted to 20-50 mm to entrain into the gas stream and totally burnout within the short retention time in the calciner or at the kiln end. Alternatively, solid waste derived fuel can be treated thermally on a combustion grate which is connected to the preheater system. The article gives a brief introduction into the first installation of the PREPOL Step Combustor (SC) of ThyssenKrupp Industrial Solutions AG in Germany.

1 State of the art of co-processing

As state of the art industrial and municipal solid wastes must be sorted and shredded for successful co-processing in the cement clinker burning process, as the gas residence time in the system is too short to burn the alternative fuel in its original particle size.

For the combustion in the sintering zone, the waste has to be sorted much deeper, so that only the two-dimensional particles (foils) remain in the product stream and this two-dimensional fraction has to be shredded down to 10-30 mm. For the calciner, the preparation effort is slightly lower. The...

Related articles:

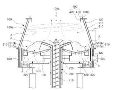
Issue 4/2018 AU2015398367 (A1)

Combustor

(22) 30.07.2015 (43) 25.01.2018 (57) A combustor according to the present invention comprises: a combustion chamber having a grate embedded therein and a combustion space formed above the grate; a...

more
Issue 05/2009 Process Know-how

Recent trends in calciner design

1 Introduction The cement industry has become significantly more energy efficient during the last 30 years with new plants having the standard features of cyclone preheater systems with precalciner...

more
Issue 7-8/2019 THYSSENKRUPP INDUSTRIAL SOLUTIONS AG

polysius fuel substitution – improving the climate footprint of cement production

Conserving resources, reducing emissions The cement plant manufacturer thyssenkrupp offers a viable way to achieve greater sustainability in cement production: polysius fuel substitution makes cement...

more
Issue 7-8/2019 THYSSENKRUPP INDUSTRIAL SOLUTIONS AG

polysius fuel substitution – improving the climate footprint of cement production

Conserving resources, reducing emissions The cement plant manufacturer thyssenkrupp offers a viable way to achieve greater sustainability in cement production: polysius fuel substitution makes cement...

more
Issue 02/2012

Trends in cement kiln pyroprocessing

1 Introduction In recent years there have been no really new and profound technical developments in kiln technology and none are to be expected in the cement industry in the foreseeable future....

more
Issue 4/2018 A TEC | LAFARGEHOLCIM

In-line calciner conversion at LafargeHolcim Mannersdorf

LafargeHolcim Mannersdorf plant

1 Introduction Due to the high demand of thermal energy for clinker production, fuel economics as well as emissions are a central topic for efficient and sustainable clinker production [1]. Using...

more