Systems and methods for cement evaluation calibration
(22) 23.12.2013
(43) 24.06.2015
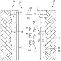
(57) Devices and methods for calibrating acoustic cement evaluation data using an acoustic calibration device installed behind a casing in a wellbore are provided. Such an acoustic calibration apparatus may be installed in contact with the outer diameter of a casing and cemented in place with cement in a wellbore. The acoustic calibration apparatus may include a first material different from that of the casing that has first known acoustic properties (e.g., simulating a solid) and a second material different from that of the casing and the cement that has second known acoustic properties (e.g., simulating a liquid or gas). Acoustic measurements obtained by an acoustic logging tool in the wellbore may be calibrated based on the known acoustic properties of the acoustic calibration apparatus.
(71) Services Pétroliers Schlumberger, 75007 Paris (FR); Schlumberger Technology B.V., 2514 JG Den Haag (NL); Schlumberger Holdings Limited, Tortola 1110 (VG)
(84) European (AL AT BE BG CH CY CZ DE DK EE ES FI FR GB GR HR HU IE IS IT LI LT LU LV MC MK MT NL NO PL PT RO RS SE SI SK SM TR)
