A method for treating lime mud in a lime kiln, a lime kiln feed head and a lime kiln
(22) 11.07.2024
(43) 06.02.2025
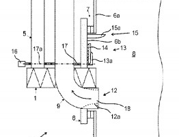
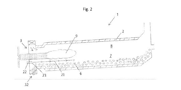
(57) The invention relates to a method for treating lime mud in a lime kiln (2) wherein the lime kiln (2) comprises a rotary kiln shell (10) having an interior space (8) between a rust end wall (6) and a second end wail (11). and wherein the first 5 end wall (6) of the lime kiln (2) comprises a moving wall-part (6a) that rotates with the rotary kiln cell (10) and a stationary wall-pan (6b). and wherein die method comprises method steps of: -feeding lime mud into the interior space (8) of the rotary 10 kiln shell (10) or in close proximity to the rotary kiln shell (10) by a feeding device (1) at the first end wall (7). -entraining tie I line mud in flue gas flowing out from the interior space (8) of the rotary kiln shell (10) to a separating device (4) through a flue gas riser duct (3), 15 -pretreating the lime mud while the lime mud is entrained with the flue gas stream, -separating the pretreated lime mud from the flue gas stream by the separating device (4), -returning the separated lime mud back to the feeding 20 device (I) and to the lime kiln (2), and -calcining the separated lime mud in the lime kiln (2). In the method according to the ins ention the time mud particles being sticked and/or deposited on the inner surfaces of the lime kiln (2) are detached at least partly 25 from inner surfaces of at least the stational). wall-pan (6b) of the first end wall (6) by a cleaning device (13) provided at the lime kiln feed end (20). The invention relates also to a lime kiln feed head (20) and a lime kiln (2).
(71) Andritz OY; 00180 Helsinki (FI)
