Cement composition for fixing carbon dioxide, cement hardened body for fixing carbon dioxide, and method for fixing carbon dioxide
(22) 14.06.2024
(43) 09.01.2025
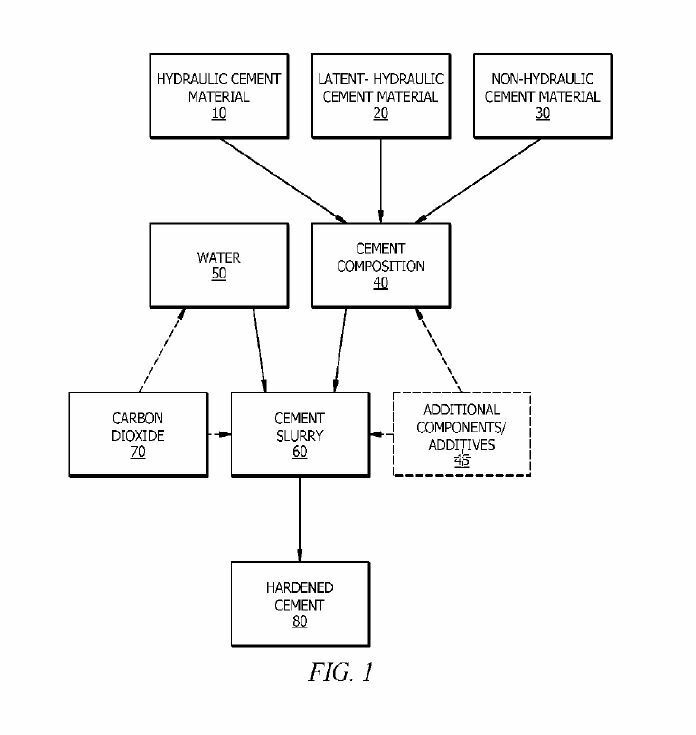
(57) This cement composition for fixing carbon dioxide contains a cement composition and a carbon dioxide absorption liquid containing a carbon dioxide absorbent. This cement hardened body for fixing carbon dioxide includes a cement hardened body and a carbonate carried on the cement hardened body. This method for fixing carbon dioxide has: a step for kneading a carbon dioxide absorption liquid containing a carbon dioxide absorbent into a cement composition; a step for hardening the cement composition containing the carbon dioxide absorbent to obtain a cement hardened body for fixing carbon dioxide; and a step for bringing the atmosphere into contact with the cement hardened body for fixing carbon dioxide, and fixing the carbon dioxide contained in the atmosphere to the cement hardened body for fixing carbon dioxide.
(71) Shimizu Corporation (JP)
