Cement kiln modeling for improved operation
(22) 29.10.2020
(43) 06.04.2023
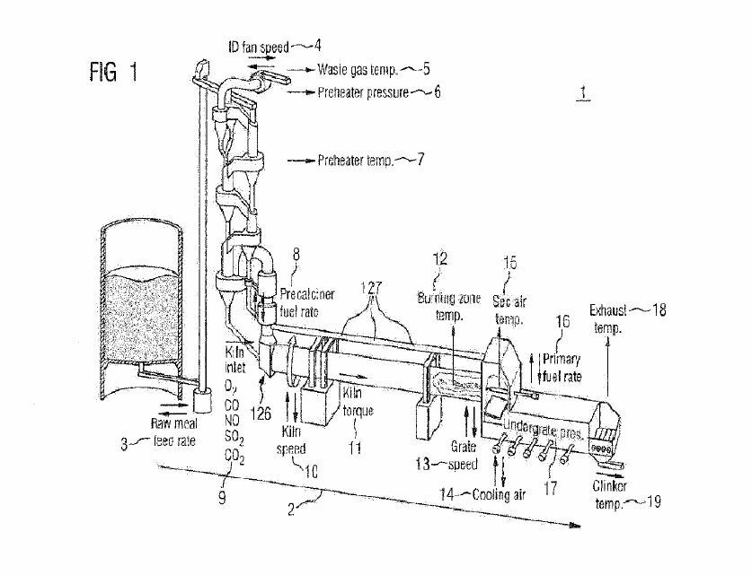
(57) A system and method for controlling operations of a cement kiln plant. The system comprises first and second processing logic. The first processing logic is configured to perform an integrated modeling computer program comprising a Virtual Cement and Concrete Testing Laboratory (VCCTL) modeling computer program and a virtual cement plant (VCP) modeling computer program. The first processing logic receives output of the VCP modeling computer program and imports the output into the VCCTL modeling computer program. The second processing logic is configured to perform one or more multi-objective metaheuristic optimization computer programs on output of the integrated modeling computer program to adjust control parameters that are used to control the operations of the cement kiln plant. The integrated model can provide a quantitative optimization tool for different energy efficiency measures addressed from cement plants and reduce energy, material consumption and greenhouse gas emissions without losing the performance of material.
(71) University of Florida Research Foundation, Gainesville, FL (US)
