Compositions comprising lime and pozzolan, and associated systems and methods
(22) 16.12.2024
(43) 19.06.2025
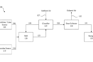
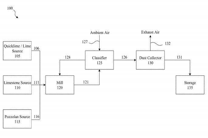
(57) Lime-based cement extender or cement replacement compositions and formulations, and associated systems and methods are disclosed herein. In some embodiments, a lime-based cement extender or cement replacement composition includes at least 5% by weight lime particles and at least 50% by weight pozzolan particles. In some embodiments, the pozzolan particles include silicon dioxide and aluminum oxide. In some embodiments, composition can be combined with admixtures and/or aggregates to produce a formulation. The formation can have at least 5,000 ppm soluble sulfate and an alumina:silica ratio of at least 0.2:1. Methods of accelerating formation of calcium aluminum sulfates to avoid sulfate attacks during critical periods include producing a formulation with high aluminum oxide content, admixtures configured to accelerate certain chemical reactions, and omitting limestone. Methods of delaying formation of calcium aluminum sulfates to avoid sulfate attacks during critical periods include producing a formulation with admixtures configured to delay certain chemical reactions.
(71) Graymont Western Canada Inc., Richmond (CA)
