Effective use of incinerated bottom ash as a cement substitute in concrete products
(22) 26.05.2024)
(43) 10.10.2024
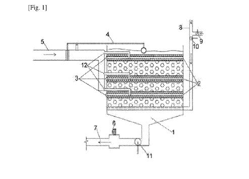
(57) A method for producing a concrete product that incorporates incinerated bottom ash as a partial replacement for cement. The method involves sieving the bottom ash to separate it into fine and coarse aggregates. The fine aggregate is used as a mineral filler in the concrete mixture to enhance it s strength, while the coarse aggregate is utilized to produce lightweight bedding blocks that help reduce the dead load of buildings.
(71) Baghernejad Hamzehkolaee (IR), Tehran (IR)
(84) ARIPO (BW, CV, GH, GM, KE, LR, LS, MW, MZ, NA, RW, SC. SD, SL, ST, SZ, TZ, UG. ZM, ZW), Eurasian (AM, AZ, BY, KG, KZ, RU, TJ, TM), European (AL, AT, BE, BG. CH, CY, CZ, DE, DK, EE, ES, FI. FR, GB, GR, HR, HU, IE, IS, IT, LT, LU. LV, MC, ME, MK, MT, NL, NO, PL, PT, RO, RS, SE, SI, SK, SM, TR), OAPI (BF, BJ, CF, CG, CI, CM, GA, GN, GQ, GW, KM, ML, MR, NE, SN, TD, TG).
