Systems and methods for use in the production of a gypsum product
(22) 28.08.2024
(43) 03.04.2025
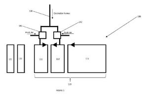
(57) A system for use in the production of a gypsum product is described, the system comprising a calciner for calcining gypsum; the calcincr comprising at least one catchier exhaust: and a dryer comprising at least one dryer zone. The system is configured such that, in use, heat energy from calcination fumes within the at least one calciner exhaust heats, directly or indirectly, the at least one dryer zone. A method for use in the production of a gypsum product is also described.
(71) Saint-Gobain Placo (FR), 92400 Courbevoie, (FR)
