Vertical kiln to for cement manufacturing
(22) 16.05.2025
(43) 04.09.2025
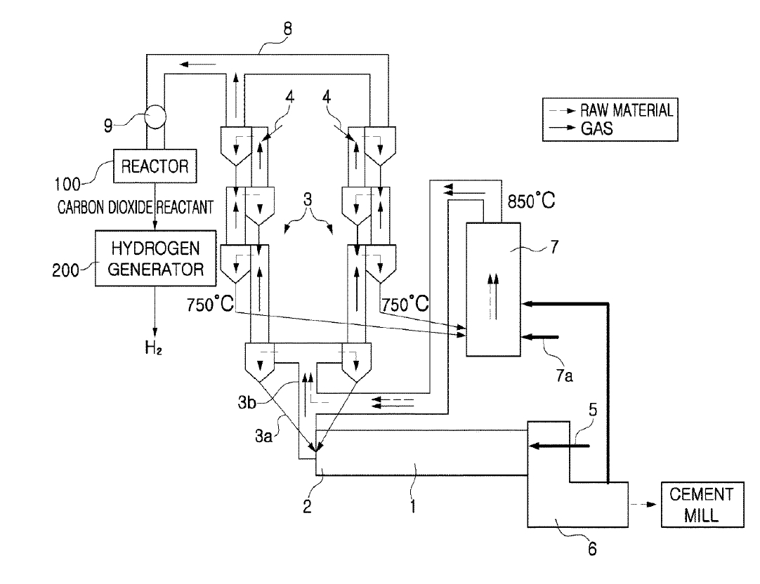
(57) Numerous examples of a vertical kiln for manufacturing cement are disclosed. In one example, a vertical kiln comprises a housing comprising a top opening to receive unprocessed material and a bottom opening to output processed material; a combustion system to heat the unprocessed material within the housing to generate the processed material; a thermocouple located within the housing to measure temperature; and a control system to control the combustion system in response to temperature data from the thermocouple.
(71) Furno Materials Inc., South San Francisco, CA/US
