EP 2 891 639 A1

Cement manufacturing device

(22) 09.08.2013

(43) 08.07.2015

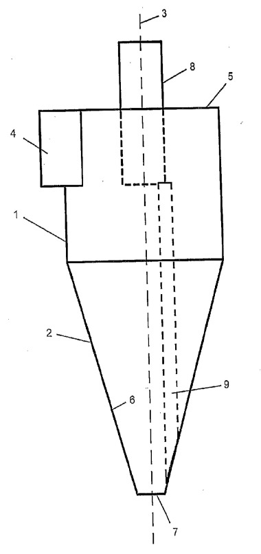
(57) Providing a cement production apparatus in which raw material is supplied into a duct with being dispersed uniformly so that heat-exchanging efficiency is improved by even preheating and clogging and the like are prevented, so that stable operation can be carried out. Between cyclones at an upper stage and a cyclone at a lower stage disposed below cyclones at an upper stage, a duct 21 is provided to introduce exhaust gas to the cyclones at the upper stage with distributing after flowing upward from the cyclone at the lower stage; at a lower position than a distribution part 23 of the duct 21, a material-supplying pipe 22 is connected for supplying cement raw material; at a connected part of the material-supplying pipe 22 to the duct 21, a material-guiding chute 24 on which the cement raw material is supplied from the material-supplying pipe 22 and which drops it into the duct 21 is provided with protruding into the duct 21; and the material-guiding chute 24 is formed to have a flat upper surface and to be expandable by sliding so that insertion depth of a tip end 24a from an inner-wall surface 21b of the duct 21 is 0.15 to 0.5 times of an inner diameter of the duct 21.

(71) Mitsubishi Materials Corporation, Chiyoda-ku, Tokyo 100-8117 (JP)

(84) Designated Contracting States: AL AT BE BG CH CY CZ DE DK EE ES FI FR GB GR HR HU IE IS IT LI LT LU LV MC MK MT NL NO PL PT RO RS SE SI SK SM TR Designated Extension States: BA ME

x

Related articles:

Issue 12/2015 US 2015/0274590 A1

Cement production apparatus

(22) 09.08.2013 (43) 01.10.2015 (57) Providing a cement production apparatus in which raw material is supplied into a duct with being dispersed uniformly so that heat-exchanging efficiency is improved...

more
Issue 4/2020 BELGOROD STATE TECHNOLOGICAL UNIVERSITY | TECHNISCHE HOCHSCHULE GEORG AGRICOLA

Optimization of the two-stage cyclone-type dust concentrator – design and operating parameters

1 Introduction A large part of the technological processes of building materials enterprises, as well as a number of other branches of industry are the mechanical manipulation and material handling...

more
Issue 9/2018 US 2018/0154375 A1

Cyclone separator

(22) 30.05.2016 (43) 07.06.2018 (57) A cyclone separator for use in a cement production plant, includes a cylindrical upper section and a conical lower section. The cylindrical upper section includes...

more
Issue 6/2023 TIANJIN CEMENT INDUSTRY DESIGN & RESEARCH INSTITUTE CO., LTD.

Practice of energy efficiency improvement for the pyro system of the 10000 t/d production line

1 Introduction The 10000 t/d clinker production line is the benchmark for large-scale cement production technology, and has been attracting extensive attention all over the world [1, 2]. The CUCC...

more
Issue 10/2010

Removing dust from process gases with optimized cyclone systems

1 Introduction On account of their simple design, limited space requirement, high operational reliability, as well as their low operating and investment costs, cyclones are used in almost all branches...

more