Clinker inlet distribution system and a method for operation
(22) 29.11.2019
(43) 02.06.2021
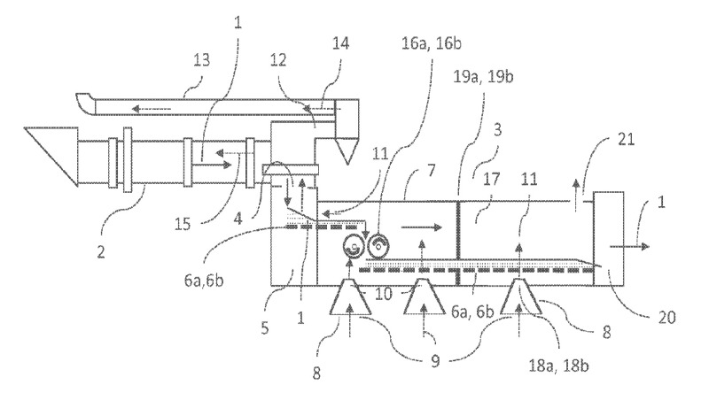
(57) Clinker cooling with a cooling grate having a receiving section followed by a second section, heat recuperation from the clinker can be enhanced, if at least one first of a number of grate elements 12, 13, 14 of the receiving section is coupled to at least one vibrational drive unit 50 for causing a vibration of the least one first grate element 12, 13, 14 relative to at least one second grate element 12, 13, 14 and/or a static portion of the support structure and/or the base.
(71) Alite GmbH 31535 Neustadt (DE)
(84) Designated Contracting States: AL AT BE BG CH CY CZ DE DK EE ES Fl FR GB GR HR HU IE IS IT LI LT LU LV MC MK MT NL NO PL PT RO RS SE SI SK SM TR; Designated Extension States: BA ME KH MA MD TN
