Cooler for cooling bulk material
(22) 12.10.2020
(43) 22.04.2021
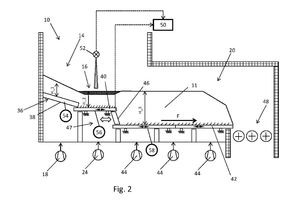
(57) The invention relates to a method for cooling bulk material, in particular cement clinker, in a cooler (10), having the steps of: – admitting bulk material (11) to be cooled into the cooler (10) from a furnace through a material inlet (12), cooling the bulk material at a bulk material height (H1) in a cooler (10) inlet region (14) which has a static grating (36), cooling the bulk material at a bulk material height (H2) in a cooler (10) separation region (16) adjoining the inlet region (14), separating fine material and coarse material in the separation region (16), said coarse material having a grain size which is larger than that of the fine material, cooling the fine material in a fine material cooler (22) using a cooling medium, and cooling the coarse material in a coarse material cooler (20) separately from the fine material, wherein the coarse material in the coarse material cooler (20) has a bulk material height (H3). The (…).
(71) thyssenkrupp Industrial Solutions AG, ThyssenKrupp Allee 1, 45143 Essen (DE); thyssenkrupp AG, ThyssenKrupp Allee 1, 45143 Essen (DE)
