Cooler for cooling hot bulk material and method for preventing grate riddlings in a cooler
(22) 06.09.2019
(43) 19.03.2020
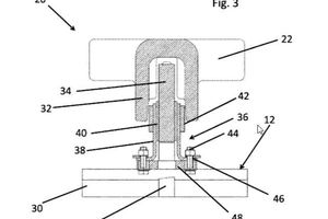
(57) The invention relates to a cooler (10) for cooling bulk material, in particular cement clinker, comprising: a stationary ventilation bottom (12) for holding the bulk material, through which ventilation bottom cooling gas can flow; at least one conveying unit having conveying planks (20), which are arranged above the ventilation bottom and can be moved back and forth in and against the conveying direction in order to transport the bulk material; and a sealing assembly (36) for preventing grate riddlings. The cooler (10) has at least one drive element (24) for driving the conveying planks (20), which drive element extends through the ventilation bottom (12). The stationary sealing assembly (36) is attached to the ventilation bottom (12) and lies against the drive element (24). The distance between the sealing assembly (36) and the drive element (24) can be adjusted. The invention further relates to a method for (…).
(71) thyssenkrupp Industrial Solutions AG, ThyssenKrupp Allee 1, 45143 Essen (DE); thyssenkrupp AG, ThyssenKrupp Allee 1, 45143 Essen (DE)
