Device for manufacturing belite calcium sulfoaluminate ternesite clinker
(22) 10.06.2016
(43) 13.12.2017
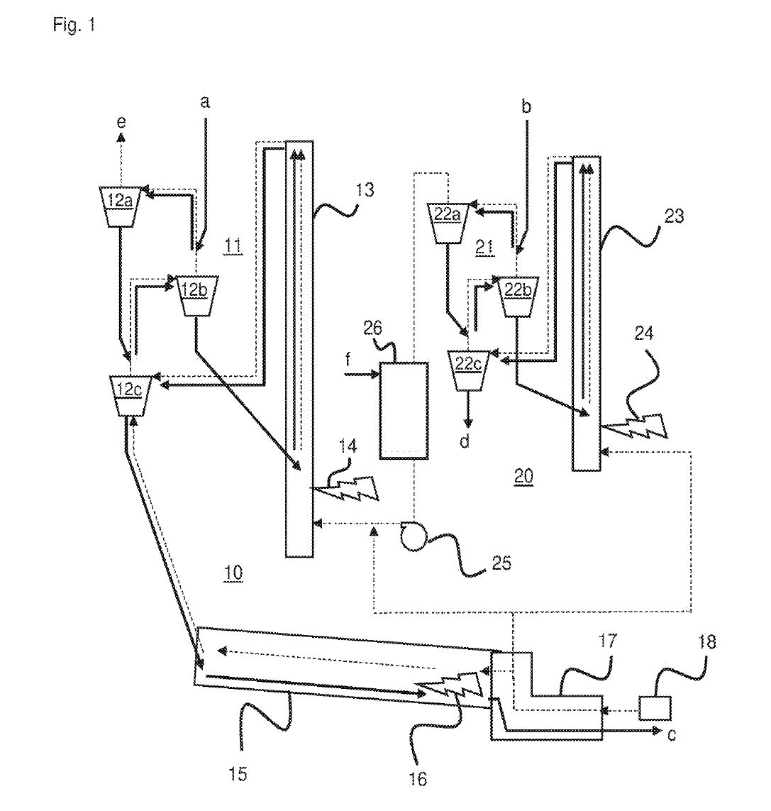
(57) Device for manufacturing belite calcium sulfoaluminate ternesite clinker, comprising a rotary kiln (1) and a cooler (3), wherein a tempering device (2) is provided between an outlet of the rotary kiln (1) and the cooler (3), wherein the tempering device (2) comprises a control unit (4) that regulates a temperature control means, preferably a heating means (5) and/or a gas supply, and the residence time.
(71) HeidelbergCement AG, 69120 Heidelberg (DE)
(84) Designated Contracting States: AL AT BE BG CH CY CZ DE DK EE ES Fl FR GB GR HR HU IE IS IT LI LT LU LV MC MK MT NL NO PL PT RO RS SE SI SK SM TR; Designated Extension States: BA ME; Designated Validation States: MA MD
