WO 2021/000796 A1

Flue gas treatment apparatus for treating CO, dioxin, and white smoke plume

(22) 28.06.2020

(43) 07.01.2021

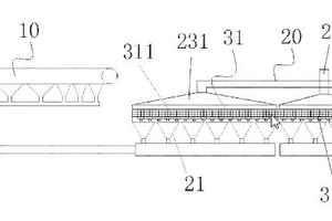
(57) In the present utility application, a flue gas treatment apparatus for treating CO, dioxin and white smoke plume is disclosed. The flue gas treatment apparatus comprises: a clinker production device having a flue gas outlet; a flue gas purification pipeline comprising a flue gas purification inlet, and a flue gas purification outlet disposed correspondingly and in communication with the flue gas purification inlet by means of pipelines; and a flue gas purification device for purifying the flue gas and is disposed between the flue gas purification inlet and the flue gas purification outlet. A reaction portion and a heating portion are provided in the flue gas purification device. The reaction portion is located in the heating portion. The heating portion is used to heat the flue gas generated in the clinker production device. The reaction portion is used to react the heated flue gas. In the flue gas treatment apparatus of the present utility application, the flue gas from the clinker is heated by the heating portion and reacted and purified by the reaction portion, thereby avoiding environmental pollution.

(71) Qinhuangdao Xinte Technology Co., Ltd., Hebei 066004 (CN)

Related articles:

Issue 7/2022 US 2022/0235933 A1

Method and apparatus for treating combustible substance

(22) 06.08.2019(43) 28.07.2022(57) A treatment method and apparatus is provided to effectively use a combustible waste such as waste plastic, waste tires, rice husk, wood shavings, PKS, RDF and sludge...

treating combustible substance">more
Issue 8/2021 US 2021/0292229 A1

Apparatus and method for treating gypsum

(22) 14.07.2017(43) 23.09.2021(57) A fluidized-bed-type apparatus and method for treating gypsum, which activates or improves fluidity of gypsum powder to promote an effect of treatment of gypsum,...

more
Issue 10/2017 PL1957423 (T3)

Method and apparatus for treating lime mud

(22) 21.11.2006(43) 30.06.2017(57) Summary of corresponding patent WO2007057512 (A2): A method for feeding lime mud into a lime kiln including a rotary kiln shell having an interior between a first...

more
Issue 01/2025 WO 2024/174479 A1

Device for coupled oxygen-fuel combustion of cement and capture and purification of carbon dioxide in flue gas

(22) 14.08.2023(43) 29.08.2024(57) The present invention particularly relates to the technical field of recovery of carbon dioxide in the cement industry. Disclosed in the present invention is a...

more
×