Integrated method for the commercial and industrial utilisation of calcium sulphate whilst obtaining rare earth elements from the production of phosphoric acid
(22) 05.01.2021
(43) 15.07.2021
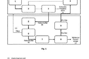
(57) The invention relates to a method for producing sulphuric acid and cement clinker and for obtaining rare earth elements using calcium sulphate, which is formed and separated as a solid by-product during the production of phosphoric acid when raw phosphate is reacted with sulphuric acid to form phosphoric acid, wherein the method comprises the following steps: a) lire calcium sulphate separated from the phosphoric acid is treated with an acid in order to obtain a suspension containing purified calcium sulphate; b) the purified calcium sulphate is separated from the liquid phase of the resulting suspension as a solid material, wherein the resulting (…).
(71) thyssenkrupp Industrial Solutions AG, ThyssenKrupp Allee 1, 45143 Essen (DE); thyssenkrupp AG, ThyssenKrupp Allee 1, 45143 Essen (DE)
