Kiln comprising a protective segment at the kiln outlet
(22) 25.11.2019
(43) 04.06.2020
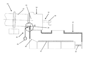
(57) The invention relates to a kiln (10) for firing cement clinker, comprising: a tubular rotary drum (22), which can be rotated about its central axis, wherein the rotary drum (22) has a discharge end (24) at which the cement clinker leaves the kiln (10); a protective segment (38) attached at the discharge end (24), which has a wear surface (44) pointing outwards and a cooling surface (46) pointing inwards, wherein the kiln (10) has a cooling device (26) for generating a cooling air flow, which flows along the cooling surface (46) of the protective segment (38), wherein the cooling surface (46) has profile bodies (58) in the form of pins.
(71) thyssenkrupp Industrial Solutions AG, ThyssenKrupp Allee 1, 45143 Essen (DE); thyssenkrupp AG, ThyssenKrupp Allee 1, 45143 Essen (DE)
