Measurement of cedent properties
(22) 26.08.2016
(43) 09.03.2017
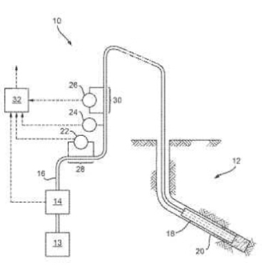
(57) A method and system for calculating the viscosity of cement slurry used for a primary cementing of an oil or gas well (12) comprises: pumping the cement slurry along a conduit (16) to a cementing location (20); measuring a first pressure loss along a first, horizontal portion (28) of the conduit (16) and a second pressure loss along a second, vertical portion (30) of the conduit (16); and calculating a viscosity of the cement slurry based at least in part on the first and second pressure losses and a flow rate of the cement slurry.
(71) Statoil Petroleum AS, Forusbeen 50, 4035 Stavanger (NO)
(84) ARIPO (BW, GH, GM, KE, LR, LS, MW, MZ, NA, RW, SD, SL, ST, SZ, TZ, UG, ZM, ZW), Eurasian (AM, AZ, BY, KG, KZ, RU, TJ, TM), European (AL, AT, BE, BG, CH, CY, CZ, DE, DK, EE, ES, FI, FR, GB, GR, HR, HU, IE, IS, IT, LT, LU, LV, MC, MK, MT, NL, NO, PL, PT, RO, RS, SE, SI, SK, SM, TR), OAPI (BF, BJ, CF, CG, CI, CM, GA, GN, GQ, GW, KM, ML, MR, NE, SN, TD, TG)
