Method and apparatus for cooling and grinding of hot cement clinker
Original: Verfahren und Vorrichtung zum Kühlen und Zerkleinern von heißem Zementklinker.
(22) 17.04.2014
(45) 03.06.2015
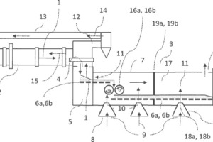
(57) Die Erfindung betrifft ein Verfahren zum Kühlen und Zerkleinern von heißem Zementklinker (1) in einem Kühler (3) und eine korrespondierende Vorrichtung, wobei der Kühler (3) einen Einlaufbereich (5), einen Rekuperationsbereich (7), einen Endkühlungsbereich (17), mindestens eine Öffnung (10) zum Einblasen von Kühlluft (11) in den Rekuperationsbereich (7), eine Tertiärluftleitung (13) zum Ableiten erwärmter Kühlluft (11), einen Auslaufbereich (20) zum Austragen von abgekühltem Zementklinker (1) und mindestens ein Fördermittel (6a, 6b) zum Transport des Zementklinkers (1) durch den Kühler (3) aufweist, der heiße Zementklinker (1) durch eine Eintragsöffnung (4) in den Einlaufbereich (5) abgeworfen wird und von dem Fördermittel (6a, 6b) durch den Rekuperationsbereich (7) und den Endkühlungsbereich (17) zum Auslaufbereich (20) transportiert wird, und durch die mindestens eine Öffnung (10) Umgebungsluft (9) als Kühlluft (11) in den Rekuperationsbereich (7) eingeblasen wird.
Erfindungsgemäß ist eine Zerkleinerung des Zementklinkers (1) durch mindestens eine im Rekuperationsbereich (7) angeordnete Vorrichtung (16a, 16b) zum Zerkleinern (1) vorgesehen so, dass der zerkleinerte Zementklinker (1) zur weiteren Kühlung mit dem Fördermittel (6a, 6b) weiter durch den Rekuperationsbereich (7) bis hin zum Endkühlungsbereich (17) und Auslaufbereich (20) transportiert wird.
(71) KHD Humboldt Wedag GmbH, 51067 Köln (DE)
