测试详情页广告位2
DE 10 2014 003 079 B3

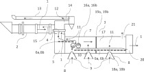
Process for cooling of cement clinker and cement clinker cooler

Original: Verfahren zum Kühlen von Zementklinker und Zementklinker­kühler

(22) 01.03.2014

(45) 12.03.2015

(73) KHD Humboldt Wedag GmbH, 51067 Köln (DE)

Related articles:

Issue 6/2015 DE 10 2014 100 378 B3

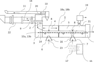
Clinker cooler and process for cooling of clinker

Original: Klinkerkühler und Verfah­ren zum Kühlen von Klinker (22) 14.01.2014 (45) 30.04.2015 (73) Alite GmbH, 31535 Neustadt (DE)

more
Issue 7-8/2015 DE 10 2014 005 748 B3 2015.06.03

Method and apparatus for cooling and grinding of hot cement clinker

Original: Verfahren und Vorrichtung zum Kühlen und Zerkleinern von heißem Zementklinker. (22) 17.04.2014 (45) 03.06.2015 (57) Die Erfindung betrifft...

more
Issue 7-8/2020 WO 2020/053100 A1

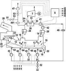
Cooler for cooling clinker and method for operating a cooler for cooling clinker

(22) 06.09.2019(43) 19.03.2020(57) The present invention relates to a method for operating a cooler (10) for cooling clinker, in particular of a cement making plant, comprising the steps of conveying...

more
Issue 4/2017 US 2017/0044060 A1

Method and device for cooling and comminuting hot cement clinker

(22) 16.04.2015 (43) 16.02.2017 (57) A method and device for cooling and comminuting hot cement clinker in a cooler. The cooler has an inlet region...

more
Issue 01/2025 WO 2024/193995 A1

Clinker cooler with gas partition wall

(22) 04.012024(43) 26.09.2024(57) The invention relates to a clinker cooler (100) for cooling freshly sintered cement clinker (101) in a system for producing cement clinker, having a first part (110),...

more
×