Method of manufacturing hydrated lime
(22) 28.03.2018
(45) 29.10.2019
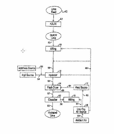
(57) A method of providing highly reactive hydrated lime and the resultant lime hydrate where an initial lime feed comprising calcium and impurities is first ground to a particle-size distribution with relatively course particles. Smaller particles are then removed from this ground lime and the smaller particles are hydrated and flash dried to form a hydrated lime, which is then milled to a significantly smaller particle size than that of the relatively course particles.
(71) Mississippi Lime Company, St. Louis, MO (US)
(73) Mississippi Lime Company, St. Louis, MO (US)
