System and method for mixing recirculating combustion ash with hydrated lime and water
(22) 28.08.2020
(43) 03.03.2022
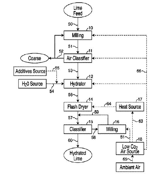
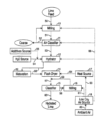
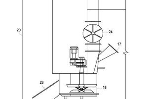
(57) A mixer for recirculating ash from solid fuel combustion with hydrated lime and water and to feed the mixture into a desulfurization reactor. The mixer includes a housing having a front wall, two outer vertical sidewalls, a rear wall, a top, and a bottom, the top includes a feed chute configured for the entry and addition of product to the mixer, and the front wall includes an opening for the mixture of product to exit. The mixer also includes a rotatable vertical shaft having an impeller, the impeller having a plurality of blades disposed on the vertical shaft in the same horizontal plane and distributed equidistantly about the circumference of the vertical shaft. The mixer also includes a vertical wall disposed within the housing forming a mixing region and a feeding region that is operably connected to the opening of the front wall.
(71) General Electric Company, Schenectady, NY (US)
(73) General Electric Company, Schenectady, NY (US)
