Method of processing exhaust gas
(22) 18.12.2020
(43) 24.06.2021
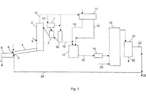
(57) In a method of processing exhaust gas containing CO2, such as exhaust gas from a cement production plant, the following steps are carried out: – burning fuel in the combustion reactor with the O2 content of the exhaust gas being used as an oxidizing agent, – controlling the combustion in the combustion reactor so that the exhaust gas from the combustion reactor contains less than 10 vol. -% of oxygen and at least 80 vol.-% of a mixture of CO and CO2, feeding the exhaust gas from the combustion reactor into a conversion reactor, in which the CO2 and optionally the CO contained in the exhaust gas is converted into a hydrocarbon fuel.
(71) Holcim Technology Ltd, Grafenauweg 10, 6300 Zug (CH)
(84) ARIPO (BW, GH, GM, KE, LR, LS, MW, MZ, NA, RW, SD, SL, ST, SZ, TZ, UG, ZM, ZW), Eurasian (AM, AZ, BY, KG, KZ, RU, TJ, TM), European (AL, AT, BE, BG, CH, CY, CZ, DE, DK, EE, ES, FI, FR, GB, GR, HR, HU, IE, IS, IT, LT, LU, LV, MC, MK, MT, NL, NO, PL, PT, RO, RS, SE, SI, SK, SM, TR), OAPI (BF, BJ, CF, CG, CI, CM, GA, GN, GQ, GW, KM, ML, MR, NE, SN, TD, TG)
