US 2016/0046525 A1

Plant for producing cement clinker with gasification reactor for difficult fuels

(22) 04.04.2014

(43) 18.02.2016

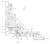
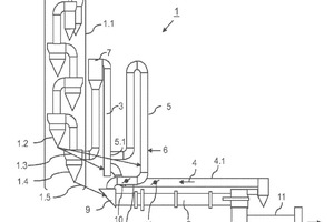
(57) A plant for producing cement clinker, comprising as viewed in the direction of materials flow, a heat exchanger to preheat raw meal, a downstream calciner to calcine the raw meal, a rotary kiln to sinter the calcined raw meal, and a clinker cooler to cool the sintered cement clinker. A combustion device which carbonizes, pyrolysis or burns difficult fuels, is embodied as a pot reactor or gooseneck reactor in an inverted U-shape, and is positioned upstream of the calciner on the flow path of the exhaust gases from the rotary kiln to the calciner, and has a gas outlet that opens out above a tertiary-air line of the clinker cooler into the calciner. As a result, it becomes possible to burn fuel which is lumpy and/or has poor ignitability, and the gases from incomplete combustion in the reactor are available in the calciner in gaseous form for further combustion.

(71) KHD Humboldt Wedag GmbH, Koeln (DE)

(73) KHD Humboldt Wedag GmbH, Koeln (DE)

Related articles:

Issue 4/2016 US 2016/0039714 A1

Method for operating a plant for producing cement

(22) 04.04.2014 (43) 11.02.2016 (57) A method for operating a plant for producing cement clinker from raw meal having, as viewed in the materials...

more
Issue 4/2020 KHD HUMBOLDT WEDAG INTERNATIONAL AG

KHD signs next Pyrorotor contract in South Korea

Asia Cement Company Ltd (Korea) awarded Humboldt Wedag GmbH, a subsidiary of KHD Humboldt Wedag International AG, with a supply and engineering contract for the modernization of its third clinker...

more
Issue 3/2018 HUMBOLDT WEDAG GMBH

KHD installs Pyrorotor Calciner Technology for highly flexible alternative fuel burning in Austria

Cologne-based Humboldt Wedag GmbH has been awarded an EPC contract by Rohrdorfer Cement Group for the kiln line modernization at its cement plant operations in Gmunden/Austria. The kiln modification ...

more
Issue 4/2019 US2019047911 (A1)

Plant for production of cement with reduced emission of pollutant gasses

(22) 12.04.2016(43) 14.02.2019(57) A plant for production of cement clinker from raw meal, having a calciner for deacidification of the raw meal and a rotary furnace for sintering the deacidified raw...

more
×