Portland limestone calcined clay cement
(22) 07.11.2017
(43) 25.01.2019
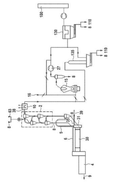
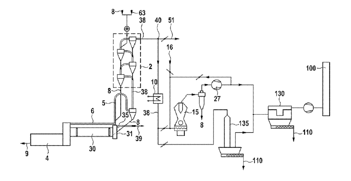
(57) Summary of the corresponding patent EP2253600 (A1): The present invention relates to a cement comprising Portland cement clinker and a clinker replacement material, wherein the clinker replacement material comprises a carbonate material and a clay material, the clay material being characterised in that the carbonate material and/or the clay material has been treated in such a way that no chemical reaction occurs between the clay minerals and the carbonate material.
(71) Aalborg Portland A/S (DK)
