EP3541765 (A1)

Process and apparatus for calcination of gypsum

(22) 18.11.2016

(43) 25.09.2019

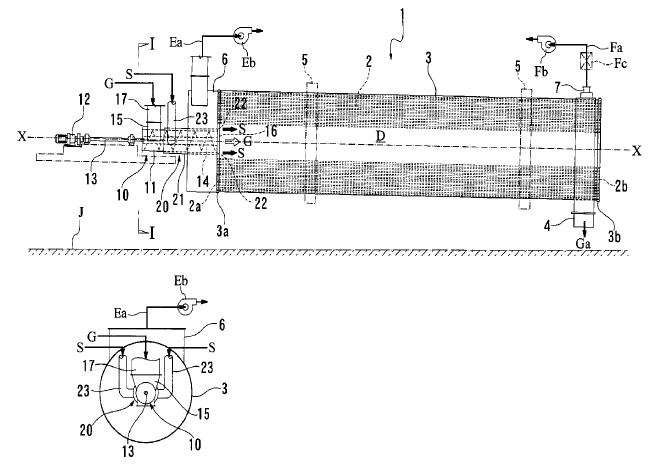
(57) Summary of the corresponding patent WO2018091062 (A1): The invention pertains to a process for modifying gypsum, wherein a continuous feed of raw gypsum is provided; the water content of the raw gypsum is determined in the continuous feed by near infrared spectroscopy (NIR) measurement; the raw gypsum is calcined in a calcination unit at a fire rate to remove water from the raw gypsum and to obtain a continuous feed of calcined gypsum having a water content within a selected range; a water content of the calcined gypsum is determined by near infrared spectroscopy, and the fire rate is adjusted based on the water content of the raw gypsum and of the calcined gypsum. Further, the invention pertains to an  apparatus for performing said process.

(71) Knauf Gips KG (DE)

Related articles:

Issue 9/2018 WO 2018/091062 A1

Process and apparatus for calcination of gypsum

(22) 18.11.2016(43) 24.05.2018(57) The invention pertains to a process for modifying gypsum, wherein a continuous feed of raw gypsum is provided; the water content of the raw gypsum is determined in...

more
Issue 7-8/2020 US 2020/0109086 A1

Method for manufacturing cement

(22) 28.05.2018(43) 09.04.2020(57) The present invention pertains to a method for manufacturing cement, wherein the gypsum is first calcined separately before being inter-grinded with the clinker so...

more
Issue 5/2021 MENDELEEV UNIVERSITY OF CHEMICAL TECHNOLOGY | BAUHAUS-UNIVERSITÄT WEIMAR

Composite gypsum binders with improved water resistance

Compositions of composite gypsum binder with various active mineral additives have been developed by the authors. It is revealed that the introduction of additives in an optimal amount increases the...

more
Issue 11/2014 GEBR. PFEIFFER SE

Grinding and calcining of gypsum with Pfeiffer grinding plants

For the production of plaster products natural gypsum, synthetic gypsum or a mixture of both are calcined. Depending on the production process two different modifications of the hemihydrate CaSO 4 x ½ H 2 O are obtained. ...

more
Issue 4/2019 US 2019/0016633 A1

Calcined gypsum treatment device and calcined gypsum treatment method

(22) 31.01.2017(43) 17.01.2019(57) A calcined gypsum treatment apparatus has an agitating type of cooler provided with a cooling region for cooling the calcined gypsum, and a moisture supplying device...

more
×