Process and device for cement clinker production
(22) 24.09.2018
(43) 07.02.2019
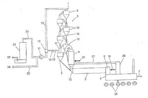
(57) In a process for the production of cement clinker, in which raw meal is preheated in a preheater (3) using the hot exhaust gases from a clinker kiln, and the preheated raw meal, which is optionally calcined in a calciner (4), is burned to clinker in the clinker kiln (2), wherein the preheater (3) includes at least one string of a plurality of cyclone suspension-type heat exchangers (8, 9, 10), through which the kiln exhaust gas successively flows and in which the raw meal is preheated in stages, a partial stream of the kiln exhaust gas is diverted such that only a remaining residual stream of the kiln exhaust gas is utilized for preheating the raw meal.
(71) Holcim Technology Ltd., Rapperswil-Jona (CH)
