Reactor for the production of hydrated lime
(22) 09.04.2015
(43) 15.10.2015
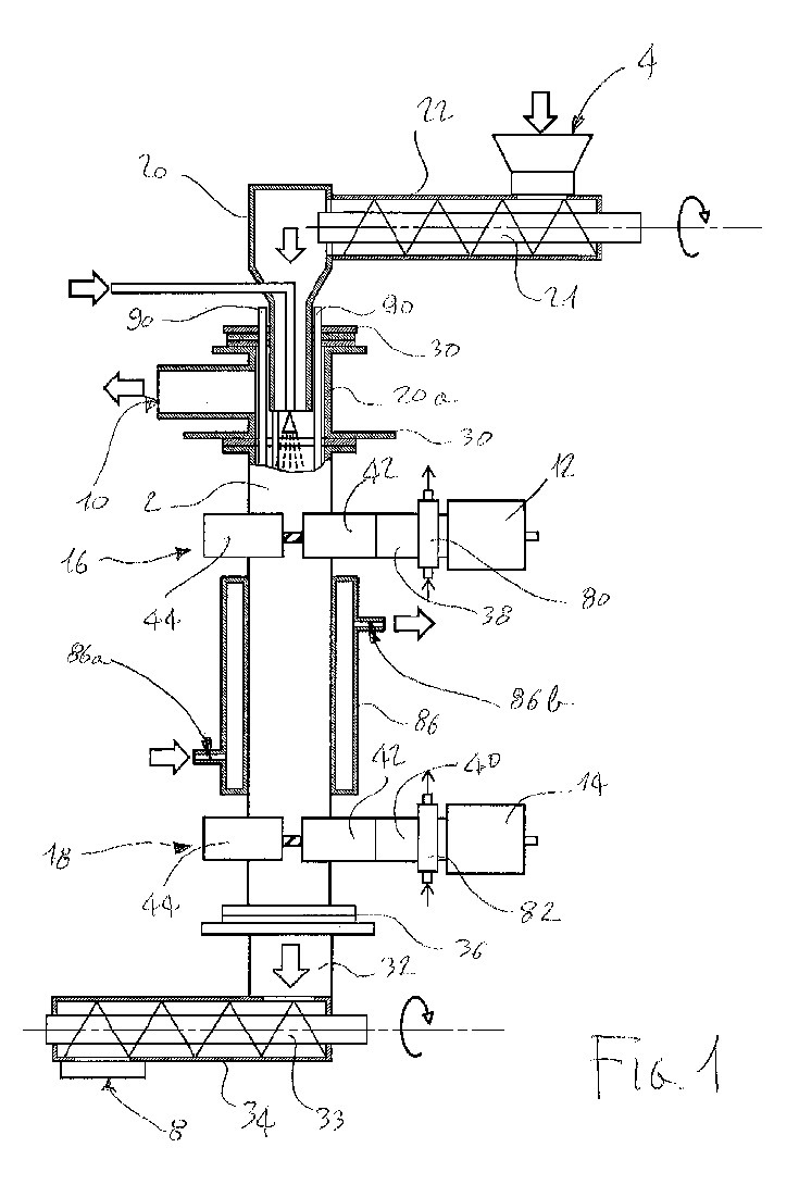
(57) A reactor for the production of hydrated lime, comprising a tubular body (2) in which the hydration-reaction of calcium oxide takes place, an inlet mouth (4) of the calcium oxide in said tubular body (2), an inlet duct (6) of water in said tubular body (2), at least one discharge mouth (8) of the hydrated lime, or calcium hydroxide, from said tubular body (2), at least one outlet mouth (10) of the vapour, produced by the reaction, from said tubular body (2), at least one first ultrasound generator (12) mechanically associated with said tubular body (2) in a first position, through a first clamp element (16).
(71) Cimprogetti S.r.l., Via Pasubio, 5, 24044 Dalmine (BG) (IT)
(84) ARIPO (BW GH GM KE LR LS MW MZ NA RW SD SL ST SZ TZ UG ZM ZW), Eurasian (AM AZ BY KG KZ RU TJ TM), European (AL AT BE BG CH CY CZ DE DK EE ES FI FR GB GR HR HU IE IS IT LT LU LV MC MK MT NL NO PL PT RO RS SE SI SK SM TR), OAPI (BF BJ CF CG CI CM GA GN GQ GW KM ML MR NE SN TD TG)
