Reducing hydrochloric acid in cement kilns
(22) 30.09.2015
(43) 21.01.2016
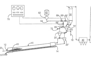
(57) The description relates to reducing hydrochloric acid in cement kilns. In one aspect, an aqueous copper-based chloride remediator is introduced into contact with combustion gases from a cement kiln. Injection is made into a defined introduction zone under conditions effective for HCl emissions control wherein the temperature is within the range of from 300° F. to 800° F., preferably from 550° F. to 750° F. The resulting d gases are discharged from the defined zone following sufficient reaction time to reduce the HCl concentration in the gases.
(71) Fuel Tech, Inc., Warrenville, IL (US)
(73) Fuel Tech, Inc., Warrenville, IL (US)
