Apparatus for additive manufacturing including a batch mixer for cementitious materials
(22) 28.03.2022
(43) 23.05.2024
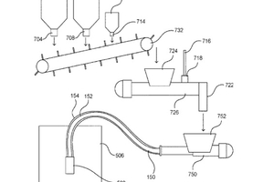
(57) An example apparatus for additive manufacturing can include a supply of dry cement powder (702) having an individually controllable outlet (704); a supply of a dry mineral filler (706) having an individually controllable out-let (708); a supply of a curing accelerator (712) having an individually controllable outlet (714); and a supply of water (716) having an individually controllable outlet (718). A batch mixer (722) can receive and mix a controlled amount dry cement powder from the supply of dry cement powder, a controlled amount of dry mineral filler from the supply of dry mineral filler, a controlled amount of curing accelerator from the supply of curing accelerator, and a controlled amount of water from the supply of water, thus forming a batch of cementitious material. A pump (750) can be connected to the batch mixer to pump the cementitious material. A delivery hose (150) can be connected to the pump to deliver the cementitious material pumped by the pump from the batch mixer. A printhead (502) can be connected to an outlet of the delivery hose. The printhead can be positionable in three-dimensional space.
(71) James Lyman Reusch, Salt Lake City, UT (US)
