Cement clinker installation and process for depositing a volatile component
(22) 14.06.2022
(43) 22.12.2022
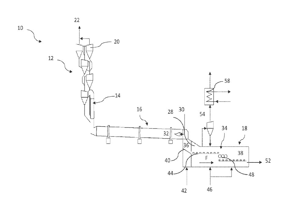
(57) The invention relates to an installation, in particular a cement clinker installation (1), and to a method for depositing a volatile component, in particular mercury, from flue gases, comprising: a mobile container (7) having a feed (7A) and a discharge (7B) for the flue gases, wherein several containers (8), each filled with a solid bed (9) of a sorbent, in particular a carbon-containing and/or mineral sorbent, are arranged in the mobile container (22).
(71) Scheuch Management Holding GmbH, Weierfing 68, 4971 Aurolzmünster (AT)
