Cement production system and process powered by geothermal energy
(22) 13.09.2024
(43) 20.03.2025
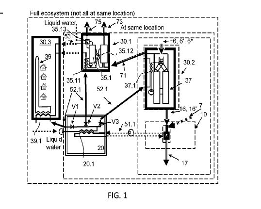
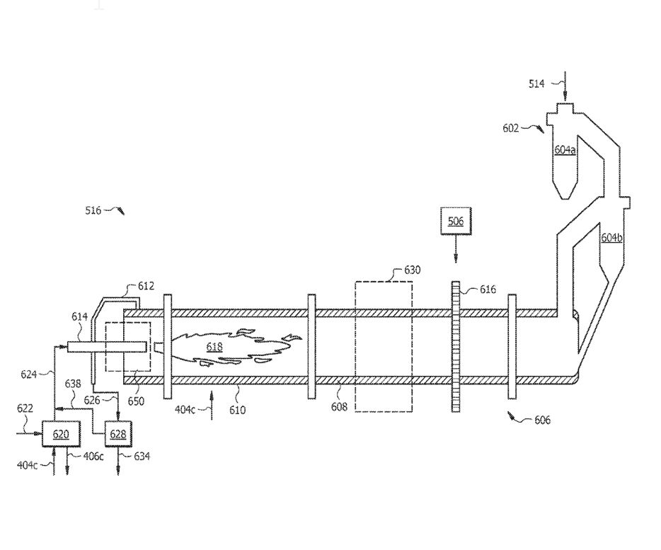
(57) A cement production system includes a wellbore extending from wellbore is configured to heat a heat transfer fluid via heat transfer with the underground magma reservoir. Processes for cement 0 production are driven at least in part by energy obtained from the underground magma reservoir.
(71) Enhancedgeo Holdings, LLC (US) St Petersburg, FL 33701 (US)
