Clinker material and method for producing clinker material
(22) 19.04.2024
(43) 24.10.2024
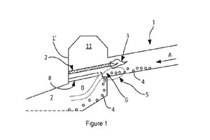
(57) The invention relates to clinker particles which can be used as a Cr(VI) reducing agent in production of cement. The clinker particles have a particle core of the clinker material comprising at least calcium silicates, calcium aluminates and iron compounds. The particle core is at least partially coated with a surface layer comprising iron-rich material, preferably in form of ferrites. The invention relates also to a method of making clinker particles. In the method, iron-rich material is applied on the clinker particles after the sintering zone but before clinker particles are cooled down to a temperature of <900 °C.
(71) Magsort Oy (FT), Helsinki (FI)
(84) ARIPO (BW, CV, GH, GM, KE, LR, LS, MW, MZ, NA, RW, SC, SD, SL, ST, SZ, TZ, UG, ZM, ZW), Eurasian (AM, AZ, BY, KG, KZ, RU, TJ, TM), European (AL, AT, BE, BG, CH, CY, CZ, DE, DK, EE, ES, FT, FR, GB, GR, HR, HIT, TE, IS, IT, LT, LU. LV, MC, ME, MK, MT, NL, NO, PL, PT, RO, RS, SE.
