Environment-friendly dust remover 
for cement production
				
				
								
		
    	(22) 12.07.2023
(43) 29.03.2024
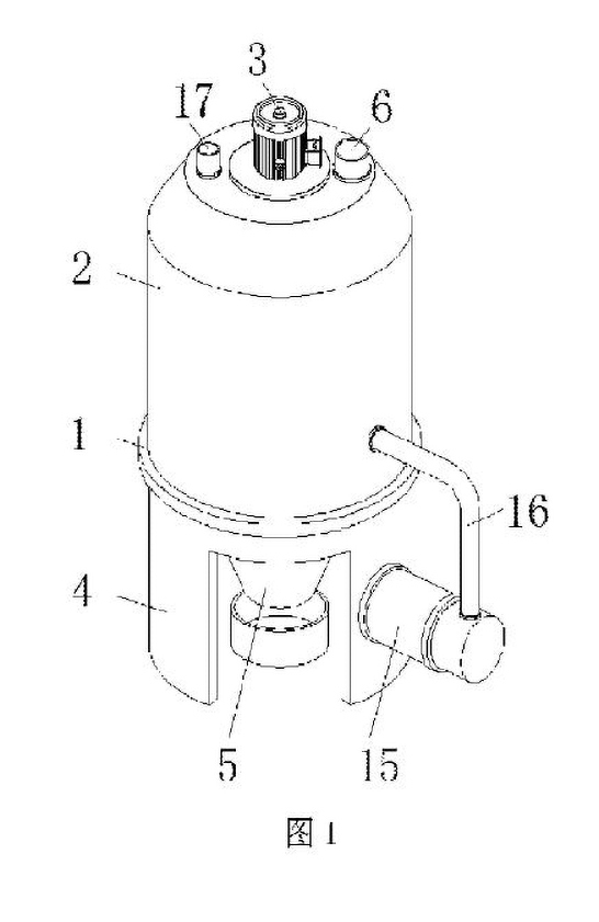
(57) The utility model discloses an environment-friendly dust remover for cement production, which relates to the technical field of dust removal for cement production,and comprises a dust remover main body, a scraping device is fixedly mounted in the dust remover main body, the scraping device comprises a containing frame, a hollow shell and a scraping plate, a sliding rod is fixedly mounted at the bottom of the hollow shell, and the scraping plate is fixedly mounted on the containing frame. According to the dust remover disclosed by the utility model, the scraping device is additionally arranged on the side surface of the dust remover main body, the reverse movement direction of the sliding rod is limited through the limiting guide rail, and the limiting guide rail can rotate, so that the dust remover can be conveniently scraped, and the dust remover can be conveniently cleaned. According to the dust collector, the scraping plates on the side face of the hollow shell can scrape cement ash on the inner wall of the dust collector, the scraped cement ash can be rapidly absorbed by the dust collector body, and therefore the dust collection effect is improved, the amount of the cement ash on the inner wall of the dust collector is reduced, and the probability of flying dust is reduced.
(71) Fengyang Zhongdu Cement Co Ltd +
