Method for producing building material using desulfurization and denitrification by-product
(22) 31.12.2021
(43) 02.03.2023
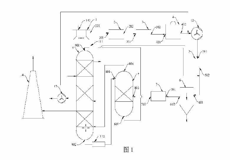
(57) Disclosed in the present invention is a method for producing a building material by using a desulfurization and denitrification by-product, comprising the following steps: S1. mixing raw materials comprising 4-16 parts by weight of iron powder, 1-14 parts by weight of bentonite, 2-20 parts by weight of cement, 20-70 parts by weight of lime powder, 2-14 parts by weight of manganese ore, 4-10 parts by weight of cerium ore, 2-15 parts by weight of cobalt ore, and 2-15 parts by weight of a pore-forming agent, and granulating and drying the mixture to obtain a desulfurization and denitrification absorbent; S2. placing the desulfurization and denitrification absorbent in a flue gas environment for desulfurization and denitrification to obtain a de sulfurization and denitrification by-product; and S3. producing a building material using the desulfurization and denitrification by-product. The method can not only effectively implement desulfurization and denitrification, but also implement resource reutilization of desulfurization and denitrification by-products.
(71) Environment Sustainable System Engineering Technology Co., Ltd., Beijing (CN)
(84) ARIPO (BW, GH, GM, KE, LR, LS, MW, MZ, NA, RW, SD, SL, ST, SZ, TZ, UG, ZM, ZW), Eurasian (AM, AZ, BY, KG, KZ, RU, TJ, TM), European (AL, AT, BE, BG, CH, CY, CZ, DE, DK. EE, ES, FI, FR, GB, GR, HR, HU, IE, IS, IT, LT, LU, LV, MC, MK, MT, NL, NO, PL, PT, RO, RS, SE, SI, SK, SM, TR), OAPI (BF, BJ, CF, CG, CI, CM, GA, GN, GQ, GW, KM, ML, MR, NE, SN, TD, TG)
