Low-temperature desulfurization and denitrification method and system for flue gas of cement plant
(22) 25.02.2022
(43) 06.04.2023
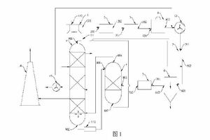
(57) Provided are a low-temperature desulfurization and denitrification method and system for flue gas of a cement plant. The low-temperature desulfurization and denitrification method for the flue gas of the cement plant comprises the following steps: reducing the temperature of flue gas discharged from a rotary kiln to 180 °C-230 °C; introducing the flue gas into a raw material grinding system; removing dust from the flue gas; reducing the temperature of the flue gas to below 20 °C; introducing the flue gas into an adsorption tower for desulfurization and denitrification; and discharging the flue gas.
(71) Huaneng Clean Energy Research Institute, Beijing 102209 (CN); Huaneng Hunan Yueyang Power Generation Co., Ltd., Hunan 414002 (CN)
