Method of processing exhaust gas from a cement plant
(22) 19.04.2023
(43) 26.10.2023
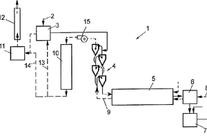
(57) A method of processing exhaust gas from a cement plant and a cement production unit, the cement plant comprising one or several raw meal mills for milling a cement raw meal, one or several preheater strings, each having a plurality of preheater stages, and a rotary kiln, wherein the one or several preheater strings are for preheating the cement raw meal in counter-current flow with an exhaust gas from the rotary kiln, wherein the method comprises: - extracting the exhaust gas from a a second highest or highest stage of at least one of the one or several preheater strings, - cooling the exhaust gas to a temperature of < 250°C, - dedusting the exhaust gas, - introducing the cooled and dedusted exhaust gas into a carbon capture installation, in which CO2 is separated from the exhaust gas for obtaining a CO2 lean gas, wherein the exhaust gas, when being introduced into the carbon capture installation, has a CO2-content of > 25 vol.-%, preferably > 30 vol.-%.
(71) Holcim Technology Ltd, Zug (CH)
(84) ARIPO (BW, CV, GH, GM, KE, LR, LS, MW, MZ, NA, RW, SC. SD, SL, ST, SZ, TZ, UG. ZM, ZW), Eurasian (AM, AZ, BY, KG, KZ, RU, TJ, TM), European (AL, AT, BE, BG, CH, CY, CZ, DE, DK, EE, ES, FI. FR, GB, GR, HR, HU, IE, IS, IT, LT, LU. LV, MC, ME, MK, MT, NL, NO, PL, PT, RO, RS, SE, SI, SK, SM, TR), OAPI (BF, BJ, CF, CG, CI, CM, GA, GN, GQ, GW, KM, ML, MR, NE, SN, TD, TG)
