Method of producing a synthetic
carbonated mineral component in a cement manufacturing plant
(22) 09.11.2022
(43) 19.05.2023
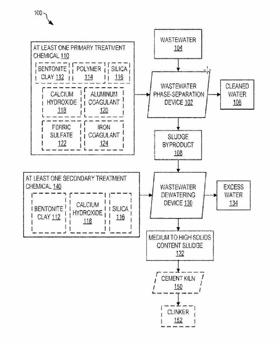
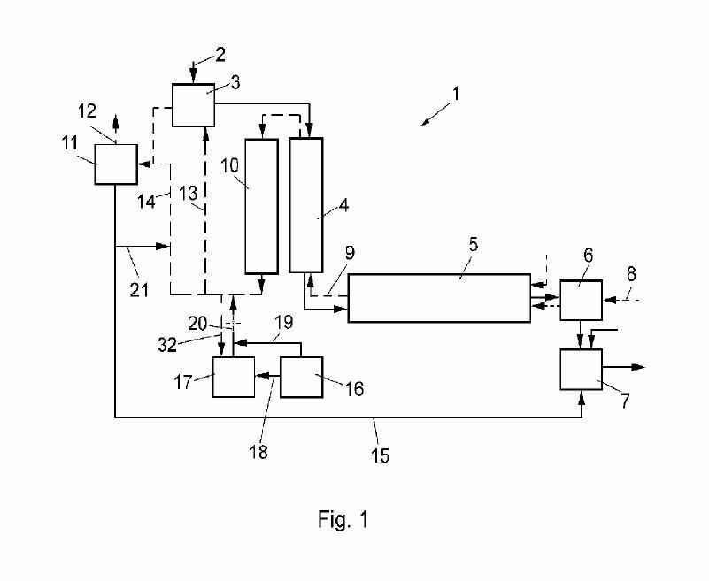
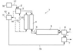
(57) A method of producing a synthetic carbonated mineral component in a cement manufacturing plant, comprising the steps of crushing concrete demolition waste, introducing the crushed concrete demolition waste into a raw meal mill without any prior screening step, grinding and simultaneously carbonating the crushed concrete demolition waste in the raw meal mill by reacting the crushed concrete demolition waste with CO2 contained in a CO2 enriched exhaust gas, thereby obtaining the synthetic carbonated mineral component, and removing the synthetic carbonated mineral component from the raw meal mill.
(71) Holcim Technology Ltd (CH)
