Systems and methods for separating soft burned and hard burned calcium oxide
(22) 08.04.2019
(45) 09.01.2024 *
* Subject to any disclaimer, the term of this patent is extended or adjusted under 35 U.S.C. 154 (b) by 1384 days. This patent is subject to a terminal disclaimer.
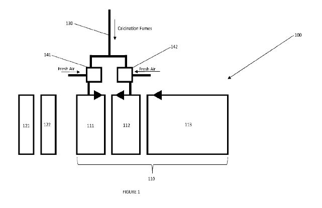
(57) Systems and methods to effectively sort calcined lime (quicklime) particles to produce products with more consistent size and burn time characteristics after the quicklime particles have been created and without the use of specialized additives. Specifically, such systems and methods sort the quicklime particles below a selected size into a softer burned and harder burned fraction based on their size. The fractions are burned in the kiln together and as a singular product, but can be classified from each other after calcining.
(71) Mississippi Lime Company,
St. Louis, MS (US)
