Targeted addition of grinding aids during a grinding process
(22) 05.02.2021
(43) 11.08.2022
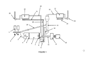
(57) The present invention concerns an improved method of grinding or milling fresh feed (i.e. crushed yet not milled clinker (with or without additions)), using two different grinding agent systems added at specific locations of the cement grinding mill, preferably at two different locations of a cement ball mill, depending on the particle size or fineness of the ma-
terial to be ground, to reduce the energy needed to achieve a targeted cement fine-
ness or increase the fineness of the cement at constant energy consumption.
(71) Cemex Innovation Holding AG, General-Guisan-Strasse 6, 6300 ZUG (CH)
(84) ARIPO (BW, GH, GM, KE, LR, LS, MW, MZ, NA, RW, SD, SL, ST, SZ, TZ, UG, ZM, ZW), Eurasian (AM, AZ, BY, KG, KZ, RU, TJ, TM), European (AL, AT, BE, BG, CH, CY, CZ, DE, DK, EE, ES, FL FR, GB, GR, HR, HU, IE, IS, IT, LT, LU, LV, MC, MK, MT, NL, NO, PL, PT, RO, RS, SE, SI, SK, SM, TR), OAPI (BF, BJ, CF, CG, CI, CM, GA, GN, GQ, GW, KM, ML, MR, NE, SN, TD, TG)
