Never before have the environmental issues facing the world presented a greater challenge or held such a dramatically high profile. It is widely accepted that action urgently needs to be taken by the...
GB 16780 named “The Norm of Energy Consumption per Unit Product of Cement” is a standard as a guideline for energy consumption, fuel consumption and electricity consumption per unit clinker or cement...
Every once in a while, my wife finds me talking to myself – at least this is what it appears to be. In reality I am talking to my little friend, my voice-controlled, cloud-based smart speaker, trying...
Conveyor safety is not a modern trend bred by government regulation; it is a common-sense idea as old as the first conveyor design. In the modern age, safety is a key factor in worker protection,...
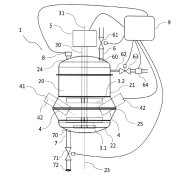
(22) 25.02.2021(43) 01.09.2022(57) Provided is a cement kiln burner that enables wind velocity to be adjusted according to the degree of combustibility of fuel without changing the airflow rate of...
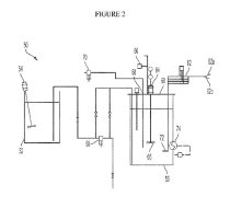
(22) 17.02.2022(43) 01.09.2022(57) Disclosed is a calcination unit (1) suitable for decarbonating raw materials intended for the production of clinker, the unit (1) comprising: – a main pipe (2) in...
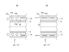
(22) 18.02.2022(43) 25.08.2022(57) A method of making a supplementary cementitious material is described that includes: forming a shiny comprising water and a carbonatable material powder, wherein a...
(22) 05.02.2021(43) 11.08.2022(57) The present invention concerns an improved method of grinding or milling fresh feed (i.e. crushed yet not milled clinker (with or without additions)), using two...
(22) 19.01.2022(43) 28.07.2022(57) The present disclosure refers to a cementitious composition comprising Portland cement clinker in an amount of from about 70 wt% to 95 wt% by dry weight based on the...
(22) 22.03.2021 (43) 28.07.2022(57) The present invention relates to an eco-friendly mortar composition, which leads to an increase in recycling rate of recovered water, a by-product in the...
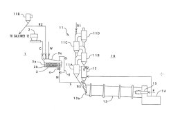
(22) 19.01.2022 (43) 28.07.2022(57) The invention relates to a raw meal delivery device (1) for delivering raw meal (R) into a gas line, such as a riser of a heat exchanger cyclone (112, 113), or into...
(22) 11.01.2022(43) 28.07.2022(57) The present invention relates to a method for operating a system (10, 11) for producing and/or handling cement, comprising the steps: – removing a material sample...
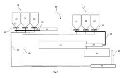
(22) 29.07.2020(43) 01.09.2022 (57) A cement premixer includes a treatment container having a treatment space. The treatment container has a side wall and a bottom, and at least one stirring unit at...
(22) 19.02.2021(43) 25.08.2022(57) The subject invention combines two long-established technologies – cement kilning and solar radiation concentra-tion – to create a new process to kiln cements that...
(22) 16.02.2022(43) 18.08.2022(57) A method is shown for forming a high solids reactive lime slurry from quicklime. The timely addition of a carbohydrate and antiscalant polymer to slaking water...
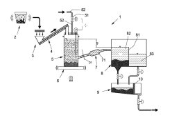
(22) 06.02.2022(43) 11.08.2022(57) Apparatus and method for recovering precious metals from contaminated cement, comprising, in order of process, a crusher, in which a cement-metal conglomerate is...
(22) 31.01.2022(43) 04.08.2022(57) Methods for the dispersion and synthesis of gra-phene nano-platelet-cement composites and helical carbon nanotube composites with high concentra-tions of graphene...
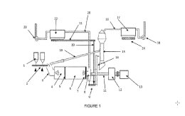
(22) 06.08.2019(43) 28.07.2022(57) A treatment method and apparatus is provided to effectively use a combustible waste such as waste plastic, waste tires, rice husk, wood shavings, PKS, RDF and sludge...
(22) 18.02.2022(43) 18.08.2022(57) The present invention discloses a preparation process of an alkali activated cementitious material for waste incine-ration bottom ash treatment, including the...
One of Cemtec’s strengths is retrofitting existing plants with state-of-the-art equipment. Since the early seventies modern air classifiers are applied to perform cement grinding in closed circuit....
It has been said that “software ate the world, now AI is eating software” [1]. The growth of artificial intelligence (AI) is relentless [2] – the process-automation sector being no exception. More and...
From September 13 to 15, 2023, the 21st ibausil will take place in Weimar. After a break due to the Covid-19 pandemic, a highlight on the current state of knowledge in the field of building materials....
On 3 August 1922 Heinrich Aumund founded the company for Aumund-Patente MB.H. in Berlin, an invention and engineering office, which laid the cornerstone for the globally operating Aumund Group of...
Block bottom valve bags made of woven plastic are not only a tear and moisture-resistant packaging for dry bulk goods – they are also becoming an increasingly sustainable packaging alternative in this...
At this year’s bauma in October, Flexco Europe presented how conveyor belt problems such as carryback, spillage and belt mistracking can be remedied, and how preventive maintenance can reduce and even...
Gypsum is a raw material that we can hardly imagine everyday life without. Gypsum products are used in the building industry, for example, in dry construction, in the design of surfaces (e.g. stucco...
As a pioneer in sustainable, climate-friendly construction, Holcim Germany is committed to the goal of a circular economy. Through the Impact Partnership with the C2C NGO, Holcim is expanding its...
Claudius Peters Projects GmbH has won the contract to supply the basic & detail engineering, mechanical equipment, erection & supervision as well as the commissioning for upgrade of the dosing and...
Titan Group’s H2CEM innovative project for the production and use of green hydrogen in the cement industry is included in the second Important Project of Common European Interest (IPCEI) “Hy2Use”....
Marking the first time what has been referred to as a “hard to abate emissions sector” has come together to call for a unified approach toward decarbonization, the Portland Cement Association’s (PCA)...
The company has revealed its new brand identity in the presence of hundreds of employees at its headquarters in Heidelberg. “Heidelberg” remains as a synonym for continuity and market leadership ...
OneStone Consulting Ltd. in Varna/Bulgaria has released a new market report on the future of granulated blast furnace slag (GBFS) with unmatched information on the production and utilisation of this ...
The Global Cement and Concrete Association (GCCA) and Athena Sustainable Materials Institute, a leading think tank in sustainable construction and life cycle assessment, have announced a partnership ...
Dankalk once again relies on the excellent quality and reliability of machines from Gebr. Pfeiffer SE. After many decades of using a Pfeiffer dryer, the company is now replacing it by the latest ...
The “Environmental data of the German cement industry 2021” provide a comprehensive overview of both the raw material and energy use as well as the various emissions of German cement manufacturers in ...
Rohrdorfer Transportbeton GmbH has taken over Wipptaler Beton GmbH. The acquisition took place on 10 October, with retroactive effect from 1 October 2022. The company’s locations in South Tyrol will...
Cemex has announced that it is reaffirming its commitment to the United Nation’s Sustainable Development Goals (SDGs), particularly those focused on climate action; sustainable cities and communities;...
Buzzi Unicem has obtained technical evaluation certification for its CEM II/C-M Portland composite cements produced in the Trino, Vernasca, Settimello, Guidonia, Barletta and Augusta plants.These are...
Dear Readers, Large, fundamental new developments are rather rare in a classic industry such as the manufacture of building materials. But don’t many smaller steps also make a noticeable difference? ...