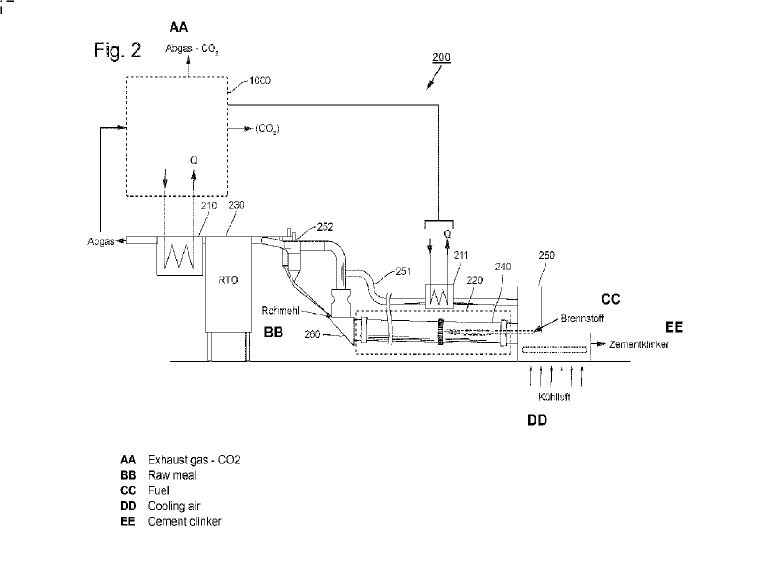
Use of thermal energy originating from a process for producing cement clinker, for operating a stage for removing carbon dioxide (CO2) from off-gases of the process
(22) 25.09.2024
(43) 10.04.2025
(57) The invention relates to the use of thermal energy that originates from a process for producing cement clinker in which ooff-gas is produced that is enriched with carbon dioxide (CO2).
(71) KHD HUMBOLDT WEDAG GmbH (DE), 51149 Köln, (DE)
